Dimensions visserie ISO

De knowledge
Révision datée du 6 décembre 2025 à 22:00 par Jpinon (discussion | contributions)
(diff) ← Version précédente | Voir la version actuelle (diff) | Version suivante → (diff)
Aller à la navigation Aller à la recherche
iso

Dans cette page je vais donner les mécanismes et les dimensions des principales vis, écrous (boulons), rondelles etc. utilisées en CAO mécanique.

Ces éléments sont globalement disponibles dans le "WorkBench" "Fasteners" de FreeCad. Je donne ci dessous les normes ISO de la visserie la plus commune car dans FreeCad on dispose de toute une série de versions DIN ou Impériales exotiques qu'il vaudra mieux ne mas utiliser sous peine d'avoir des difficultés à s'approvisionner.

Premier tableau

Filetage

Sur Wikipedia on trouve la définition du filetage métrique (ISO).

Issue Wikipedia
Filetage ISO

Le détail des dimensions sur le tableau ci dessous colonne "Filetage".

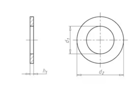
Rondelles

Les dimensions données dans le tableau ci-dessous (colonne "Rondelles") correspond à la norme ISO 7089.

Rondelle standard ISO 7089

Inserts Taraudés "3D"

Ce sont des petits inserts en laiton à insérer dans des pièces imprimées en 3D.

elles s'insèrent "à chaud" . Moi j'utilise un vieux fer a souder.

Inserts pour 3D

Les valeurs sont sur le tableau ci dessous colonne "Inserts taraudés".

Attention il peut exister des versions avec un longueur (L) différente. Les autres valeurs restent vraies et relatives au diamètre.

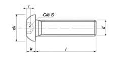
Têtes cylindriques 6 pans creux.

Dans le tableau ci dessous (colonne Têtes "cylindrique 6 pans creux") on trouve les valeurs en fonction du diamètre seulement. Je ne parles pas des longueurs.

Vis CHC

Ecrou ISO 4762.png

Dans ce cas, la norme est ISO 4762 reprise de la norme DIN 912

Diamètre Filetage Rondelles Inserts taraudés Têtes cylindrique 6 pans creux Diamètre
M P D Ø percage Ø D1 Ø D2 h Ø d1 Ø d2 Ø d3 L* W Ø dk k s M
M2 0.40 2.00 1.60 2.20 5.00 0.30 3.60 3.10 3.20 4.00 1.30 3.80 2.00 1.50 M2
M2.5 0.45 2.50 2.05 2.70 6.00 0.50 4.60 3.90 4.00 5.70 1.60 4.50 2.50 2.00 M2.5
M3 0.50 3.00 2.50 3.20 7.00 0.50 4.60 3.90 4.00 5.70 1.60 5.50 3.00 2.50 M3
M4 0.70 4.00 3.30 4.30 9.00 0.80 6.50 5.50 5.60 8.10 2.10 7.00 4.00 3.00 M4
M5 0.80 5.00 4.20 5.30 10.00 1.00 7.10 6.30 6.40 9.50 2.60 8.50 5.00 4.00 M5
M6 1.00 6.00 5.00 6.40 12.00 1.60 9.70 7.90 8.00 12.70 3.30 10.00 6.00 5.00 M6
M7 1.00 7.00 6.00 7.40 14.00 1.60 10.10 9.50 9.60 12.70 4.50 10.00 7.00 5.10 M7
M8 1.25 8.00 6.80 8.40 16.00 1.60 13.00 8.00 6.00 M8
M10 1.50 10.00 8.50 10.50 20.00 2.00 16.00 10.00 8.00 M10
M12 1.75 12.00 10.20 13.00 24.00 2.50 18.00 12.00 10.00 M12
M14 2.00 14.00 12.00 15.00 28.00 2.50 21.00 14.00 12.00 M14
M16 2.00 16.00 14.00 17.00 30.00 3.00 24.00 16.00 14.00 M16
M18 2.50 18.00 15.50 19.00 34.00 3.00 27.00 18.00 14.00 M18
M20 2.50 20.00 17.50 21.00 37.00 3.00 30.00 20.00 17.00 M20
M22 2.50 22.00 19.50 23.00 39.00 3.00 33.00 22.00 17.00 M22
M24 3.00 24.00 21.00 25.00 44.00 4.00 36.00 24.00 19.00

* Il peut exister des inserts plus longs. Cette valeur est la valeur standard.

Second tableau

Boulon tête hexagonale

C'est le boulon standard.

BOULON TETE HEXAGONALE

On parle de la norme ISO 4014 ou DIN 931. Toujours pareil je ne parles pas de la longueur ici.

Têtes bombées 6 pans creux

SO7380.png

C'est la norme ISO 7380. Les valeurs données tableau ci dessous dans "Tête fraisée 6 pans creux". Toujours sans parler de la longueur.

Tête fraisée 6 pans creux

Vis tête fraisée hexagonale creuse

C'est la norme ISO 10642 DIN 7991

Diamètre Tête hexagonale / écrou Têtes bombées 6 pans creux Tête fraisée 6 pans creux Diamètre
M k s m Ø dk k s dk max dk min k s M
M2 1.40 4.00 1.60 M2
M2.5 1.50 5.00 2.00 5.00 4.70 2.50 1.50 M2.5
M3 2.00 5.50 2.40 5.70 1.64 2.00 6.72 5.54 1.86 2.00 M3
M4 2.80 7.00 3.20 7.60 2.20 2.50 8.96 7.53 2.48 2.50 M4
M5 3.50 8.00 4.00 9.50 2.75 3.00 11.20 9.43 3.10 3.00 M5
M6 4.00 10.00 5.00 10.50 3.30 4.00 13.44 11.34 3.72 4.00 M6
M7 5.20 11.00 5.50 M7
M8 5.30 13.00 6.50 14.00 4.40 5.00 17.92 15.24 4.86 5.00 M8
M10 6.40 16.00 8.00 17.50 5.50 6.00 22.40 19.22 8.80 6.00 M10
M12 7.50 18.00 10.00 21.00 6.60 8.00 26.88 23.12 6.50 8.00 M12
M14 8.80 21.00 11.00 M14
M16 10.00 24.00 13.00 28.00 8.80 10.00 33.60 29.10 10.60 10.00 M16
M18 11.50 27.00 15.00 M18
M20 12.50 30.00 16.00 40.32 36.50 11.40 12.00 M20
M22 14.00 34.00 18.00 M22
M24 15.00 36.00 19.00 M24